Van VINVAL
Giá: Liên hệ
Bẫy hơi phao FT44 (Ball Float Steam Trap) kết nối mặt bích, xả nước ngưng liên tục, tích hợp xả khí, vận hành êm ái, độ bền cao. Liên hệ pm-e.vn để nhận báo giá tốt nhất.
Bẫy Hơi Phao – Ball Float Steam Trap Mặt Bích Chính Hãng
Bẫy hơi phao (Ball Float Steam Trap) là thiết bị quan trọng trong hệ thống hơi công nghiệp, giúp xả nước ngưng liên tục, loại bỏ khí không ngưng và đảm bảo hiệu suất vận hành tối ưu cho hệ thống.
Sản phẩm được thiết kế dạng phao cơ (ball float) với khả năng đóng mở tự động theo mức nước ngưng, mang lại độ chính xác cao và tiết kiệm năng lượng.
Bẫy hơi phao FT44 được thiết kế với cơ cấu hai cửa (double seat) đáng tin cậy, tích hợp bộ xả khí tự động, giúp xả nước ngưng hiệu quả và loại bỏ nhanh các khí không ngưng trong hệ thống.
Sản phẩm được tối ưu cho hiệu suất vận hành cao, sử dụng kết nối mặt bích lắp ngang, phù hợp với nhiều ứng dụng hơi công nghiệp, đồng thời đảm bảo lắp đặt dễ dàng và hoạt động ổn định.
Giới thiệu sản phẩm
- Model: FT44
- Kiểu: Ball Float Steam Trap (bẫy hơi phao)
- Kết nối: Mặt bích (Flanged End)
- Thiết kế: Double seat hoặc single seat
- Tích hợp: Xả khí tự động (Air Venting)
Bẫy hơi FT44 phù hợp cho nhiều hệ thống như:
- Hệ thống nồi hơi
- Hệ thống gia nhiệt
- Nhà máy thực phẩm, dệt may, hóa chất
- Hệ thống trao đổi nhiệt
Đặc điểm nổi bật của bẫy hơi phao FT44
1. Đóng kín tuyệt đối – tuổi thọ cao
Thiết kế seat cân bằng (balanced seat) giúp van đóng kín hiệu quả, hạn chế rò rỉ hơi và tăng tuổi thọ thiết bị.
2. Xả nước ngưng liên tục, không thất thoát hơi
Luôn duy trì lớp nước ngưng phía trước van tạo water seal, giúp:
- Ngăn rò rỉ hơi
- Tối ưu hiệu suất năng lượng
3. Vận hành êm ái – không gây tiếng ồn
Bẫy hơi hoạt động hoàn toàn cơ học, không gây rung lắc hay tiếng ồn, thân thiện với môi trường làm việc.
4. Xả khí nhanh – rút ngắn thời gian khởi động
Tích hợp bộ xả khí tự động giúp:
- Loại bỏ khí không ngưng nhanh chóng
- Tăng hiệu quả truyền nhiệt
- Rút ngắn thời gian startup hệ thống
5. Vật liệu inox chống ăn mòn
Toàn bộ chi tiết bên trong được chế tạo từ thép không gỉ (stainless steel):
- Chống ăn mòn
- Chống xâm thực (cavitation)
- Độ bền cao trong môi trường hơi nóng
Tiêu chuẩn sản xuất
Sản phẩm được chế tạo theo các tiêu chuẩn quốc tế:
- Thiết kế: GB/T 22654-2008
- Kích thước mặt đối mặt: GB/T 12250-2005
- Tiêu chuẩn kiểm tra: GB/T 12251-2005
- Kết nối mặt bích:
- DIN 2545
- ASME B16.5
Thông số kỹ thuật chính
| Kích thước | DN32 – DN50 |
|---|---|
| Áp lực | PN16, PN40, Class 150, Class 300 |
| Kiểu kết nối | Mặt bích |
| Nhiệt độ làm việc | Cao (hệ hơi) |
| Vật liệu thân | Thép / gang / thép hợp kim |
| Vật liệu bên trong | Inox |
Kích thước & Trọng lượng
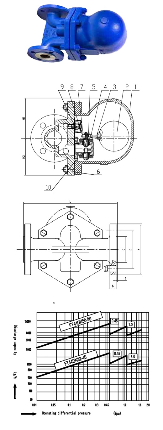
| Size | NPS | CLASS | L | H1 | H2 | A | B | C | b | f | N-Φ | Net. Weight | ||
| DN32 | 1 1/4'' | PN16 | 230 | 130 | 125 | 140 | 100 | 78 | 18 | 2 | 4-Φ18 | 26 KGS | ||
| DN40 | 1 1/2'' | PN16 | 230 | 130 | 125 | 150 | 110 | 88 | 18 | 3 | 4-Φ18 | 27 KGS | ||
| DN50 | 2'' | PN16 | 230 | 130 | 125 | 165 | 125 | 102 | 18 | 3 | 4-Φ18 | 28 KGS | ||
| Size | NPS | CLASS | L | H1 | H2 | A | B | C | b | f | N-Φ | Net. Weight | ||
| DN32 | 1 1/4'' | PN40 | 230 | 130 | 125 | 140 | 100 | 78 | 18 | 2 | 4-Φ18 | 26 KGS | ||
| DN40 | 1 1/2'' | PN40 | 230 | 130 | 125 | 150 | 110 | 88 | 18 | 3 | 4-Φ18 | 27 KGS | ||
| DN50 | 2'' | PN40 | 230 | 130 | 125 | 165 | 125 | 102 | 20 | 3 | 4-Φ18 | 28 KGS | ||
| Size | NPS | CLASS | L | H1 | H2 | A | B | C | b | f | N-Φ | Net. Weight | ||
| DN32 | 1 1/4'' | 150LB | 230 | 130 | 125 | 115 | 88.9 | 63.5 | 14.3 | 2 | 4-Φ16 | 26 KGS | ||
| DN40 | 1 1/2'' | 150LB | 230 | 130 | 125 | 125 | 98.4 | 73 | 15.9 | 2 | 4-Φ16 | 27 KGS | ||
| DN50 | 2'' | 150LB | 230 | 130 | 125 | 150 | 120.7 | 92.1 | 17.5 | 2 | 4-Φ19 | 28 KGS | ||
| Size | NPS | CLASS | L | H1 | H2 | A | B | C | b | f | N-Φ | Net. Weight | ||
| DN32 | 1 1/4'' | 300LB | 230 | 130 | 125 | 135 | 98.4 | 63.5 | 17.5 | 2 | 4-Φ19 | 26 KGS | ||
| DN40 | 1 1/2'' | 300LB | 230 | 130 | 125 | 155 | 114.3 | 73 | 19.1 | 2 | 4-Φ22 | 27 KGS | ||
| DN50 | 2'' | 300LB | 230 | 130 | 125 | 165 | 127 | 92.1 | 20.7 | 2 | 8-Φ19 | 28 KGS | ||
Ưu điểm khi sử dụng bẫy hơi phao
- Tiết kiệm năng lượng hệ thống hơi
- Tăng hiệu suất trao đổi nhiệt
- Giảm hao hụt hơi nước
- Bảo vệ thiết bị downstream
- Vận hành ổn định, ít bảo trì
Ứng dụng thực tế
Bẫy hơi phao FT44 được sử dụng rộng rãi trong:
- Nhà máy nhiệt điện
- Nhà máy chế biến thực phẩm
- Ngành dầu khí
- Hệ thống HVAC
- Dây chuyền sản xuất công nghiệp
Liên hệ báo giá bẫy hơi phao FT44
📞 Hotline: 0907 450 506 – 0902 720 814
📧 Email: info@pm-e.vn
🌐 Website: https://pm-e.vn
Phúc Minh cam kết cung cấp bẫy hơi phao chính hãng, giá cạnh tranh, đầy đủ CO, CQ và hỗ trợ kỹ thuật tận tình.
Sản phẩm liên quan




.png)






